Safra Square, Jerusalem
Statutory Planning Plan
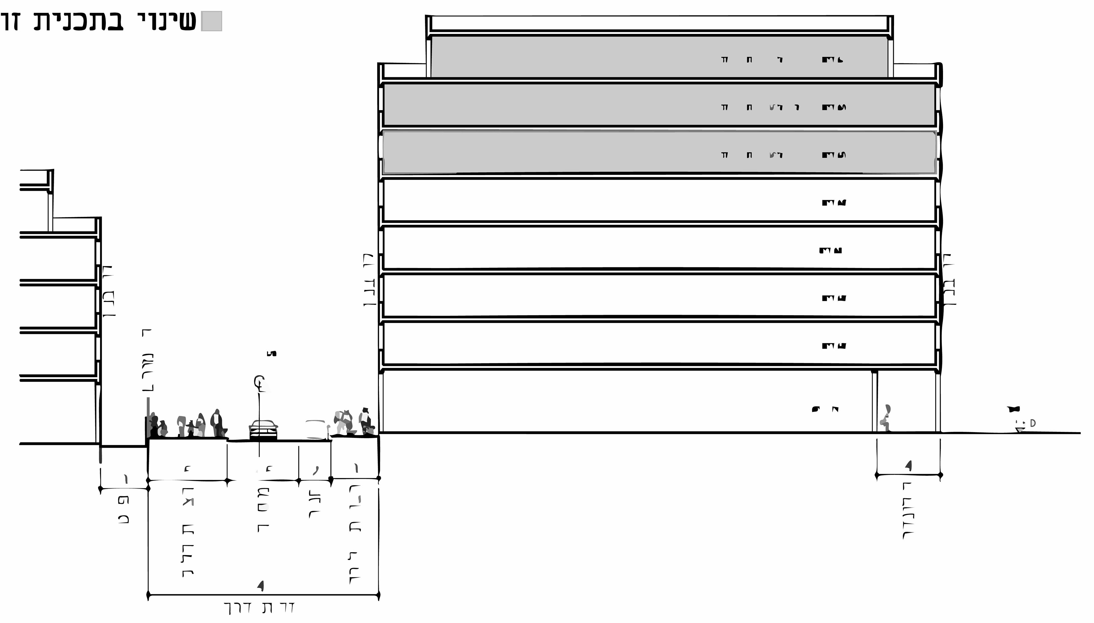
The project proposes a statutory planning scheme for the addition of building rights and new uses within the existing Municipal Building No. 1 at Safra Square in Jerusalem.
The plan introduces an extension of three additional storeys, while maintaining continuity with the existing civic complex.
The plan introduces an extension of three additional storeys, while maintaining continuity with the existing civic complex.
The proposal defines updated building rights and programmatic flexibility, allowing for the integration of additional municipal and public uses within the existing structure.
Special attention was given to the relationship between the new additions and the established architectural and urban character of Safra Square.
Special attention was given to the relationship between the new additions and the established architectural and urban character of Safra Square.
The project seeks to enhance the functional capacity of the municipal complex while preserving its role as a central civic space within the city.
The project was developed in collaboration with architect Orly Moas.
Project Details
Location: Safra Square, Jerusalem
Scope: Addition of Building Rights and Uses
Existing Building: Municipal Building No. 1
Add: 3 storeys
Program: Municipal and Public Uses
Status: Statutory Planning (TABA)
Collaboration: Orly Moas, Architect